近日,清华大学附属垂杨柳医院神经外科通过急诊复合手术成功救治一位外籍脑血管畸形破裂出血致脑疝的患者。术后患者转危为安,现已回国继续康复治疗。
急病突至:俄患者脑出血命悬一线
今年20岁的俄罗斯籍模特GD(化名)突发头痛伴呕吐,随即出现意识不清。她的同事立即将她送至清华大学附属垂杨柳医院急诊科。
在接诊后,急诊科医师迅速启动绿色通道,头部CT检查显示脑出血,且出血量较大,中线明显移位,随即联系医院神经外科会诊。
神经外科值班医生刘耀东在接到电话后迅速赶到急诊抢救室。检查发现患者已深昏迷,双侧瞳孔散大,呼吸不规则,血氧低。急诊科医生立即气管插管,神经外科主任张锟也第一时间到达急诊抢救室参与会诊。
病情危急:脑疝加熊猫血难题重重
考虑到患者年轻且无高血压病史,张锟研判后认为患者脑血管畸形破裂导致出血可能性大。常规应行头部CTA初步明确是否脑血管畸形或动脉瘤,这对手术策略至关重要,否则可能术中出现难以控制的大出血,但这无疑会推迟手术时间。此时患者已出现脑疝,且双侧瞳孔散大,患者生命垂危,已经容不得过多考虑。时间就是生命,早一分钟手术便多一分存活的机会,张锟当机立断,决定在复合手术室进行手术以缩短抢救时间。

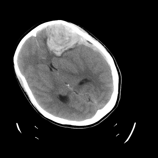
左侧额叶及硬膜下血肿(术前)
为保证患者生命安全,神经外科团队计划清除血肿与脑血管造影同时进行,如果确诊脑血管畸形可同时进行介入治疗。此时,患者的血型结果再次给救治团队提出了难题:患者血型为O型Rh(-),即极为罕见的“熊猫血”。医院输血科了解情况后火速向中心血站协调,调取了仅有的2U O型Rh(-)红细胞,为紧急输血做好准备。面对如此复杂且危重的病情,院领导高度重视,指示全力救治。在医务部的协调下,医院麻醉科、神经外科介入团队、第一手术区、导管室、重症医学科等多科室无缝衔接,迅速投入到争分夺秒的手术当中,以及为后续的抢救做好充分的准备。
MDT协作:多学科携手保手术安全
开颅手术于复合手术室进行。麻醉成功后,张锟会同刘耀东和神经外科副主任医师董雪涛,迅速完成开颅。医生们在显微镜下仔细操作,最大限度减少出血,初步快速清除硬膜下血肿及脑内血肿,为介入治疗赢得时间。与此同时,神经外科介入治疗团队副主任医师刘磊、主治医师段练与医师王绍珍迅速完成脑血管造影检查,发现左侧额叶脑血管畸形团,并成功进行了栓塞治疗。术后造影畸形血管团未再显影,随后由董雪涛及刘耀东继续完成血肿清除并去除骨瓣减压,术中出血200ml,最大程度上避免了出现因稀缺血型输血困难的问题。

左侧额叶巨大血管畸形团(术前DSA)

栓塞后左侧额叶血管畸形团消失(术后DSA)

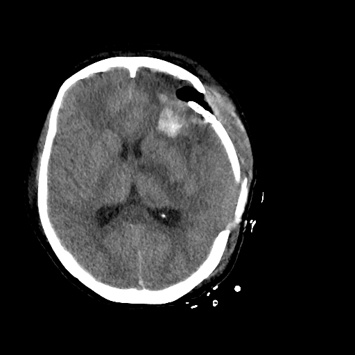
额叶血肿清除术后,中线基本居中
术后恢复:细致周到服务收获赞誉
手术结束后,患者被转入重症医学科进行后续机械通气支持等一系列神经重症治疗。耳鼻喉科主任杨立军协助进行气管切开,神经外科和重症医学科医护团队联合进行镇静镇痛、脑保护、抗感染、抗癫痫、营养支持。在团队的精心治疗和护理下,患者病情逐渐稳定,并恢复自主呼吸。两周后,患者的母亲赶到医院,在得知患者受到了及时和良好的救治后,其家属及俄罗斯驻中国大使馆向清华大学附属垂杨柳医院医疗团队表示了由衷的感谢,称赞医院的医疗技术和多学科协作模式挽救了患者的生命。

俄罗斯大使馆领事处发来感谢信
在术后三周,患者GD病情平稳,顺利出院,已安全回国接受康复治疗。

俄罗斯大使馆工作人员反馈患者平安返回祖国
此次成功救治印证了清华大学附属垂杨柳医院神经外科对脑血管病的诊治能力,展现了神经外科的实力和多学科联合救治模式的高效性,充分发挥了各科室的专业优势,为复杂重症患者提供了全方位、高质量的医疗服务,为更多患者带来希望和健康。


